









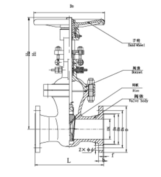
Usage:this valve is used to low and short pipelines or power station which need fall-ball cleaning such as petroleum or petroleum products,natural gas,airport and electronic,environment to shut the flowing of medium
| Copyright(C) Baoding Wanmei Machine Co.,Ltd Contact:Miss.Liu Mobile:0086-15531272065 Phone:0086-312-3106071
Address:Longxing Business Building,Longxing Road No.77,Baoding,Hebei Province,China Support:ShiJiaZhuang HuiHuangYuan Trade c., Ltd |